Icyball Page

This page is largely reduntant because Jim Bollman now has an excellent IcyBall page at http://www.ggw.org/cac/IcyBall/crosley_icyball.html


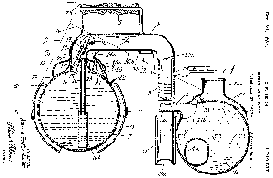
Text of icyball patent (only one page typed in so far)
Click on the image for a larger version.

Back to Coolit
Hits since 13/nov/97 =

Back to Eddie's home page